化学、材料、原材料行业
喷丸处理在数码显微系统下的观察、测量
喷丸处理是将喷料(细砂或小钢球、小铸铁球)高速喷射到加工物的表面,使表面产生小凹凸,切削表面的一种加工方法。相对于研磨加工是使表面变得光滑,喷丸处理是使表面变得粗糙。下面云顶国际·[中国]唯一官方网站将为您介绍喷丸处理的概要和通过数码显微系统来观察、测量喷丸处理的案例。

什么是喷丸处理
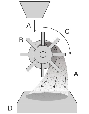
由于是高速喷射(喷发)小钢球和小铸铁球(抛丸),因此被称为喷丸处理。喷丸处理是让叶轮高速旋转,利用离心力抛出叶片上的喷料。与此相对地,将利用压缩空气抛出喷料的方式称为空气喷砂或喷砂处理。
喷丸处理

通过电机让叶轮旋转,利用离心力抛出喷料。由于无需压缩机,因此可以节省能源、减少成本,但加工功率难以调整,不太适用高精度加工。
空气喷砂(喷砂处理)

利用压缩机产生的压缩空气抛出喷料。压力调整简单,擅长高精度加工。
加工物和喷料的材质
为您介绍加工物和喷料的主要材质。
- 加工物(工件)
- 金属、陶瓷、塑料、玻璃、橡胶
- 喷料(媒介)
- 小钢球和小铸铁球(抛丸)、砂子、不锈钢、氧化铝、铜、玻璃、树脂、塑料、核桃砂
喷丸处理的目的和效果
- 去除锈迹、污垢
- 去除金属表面的锈迹、去除铸件上的砂子、去除焊接的焊接瘤、去除涂料和油污
- 去毛刺
- 去除冲压和机械加工后产生的毛刺
- 凹凸处理
- 通过让表面产生凹凸,提升涂装、电镀和黏结等的密着性。
通过梨皮处理,防止反射、提升补油性、提升摩擦力、提升散热性。
- 喷丸硬化
- 通过压缩残余应力,提升耐磨损性、抗削蚀性及抗疲劳强度。
通过数码显微系统来观察、测量喷丸处理的案例
为您介绍使用云顶国际的4K数码显微系统“VHX系列”来观察、测量喷丸处理的应用案例。









